Здесь вы сможете найти описание предохранителей и реле Сузуки Альто 7 со схемами блоков, местами их расположения и фото примерами исполнения. Выделим предохранитель прикуривателя.
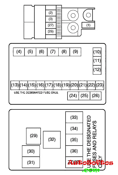
Блок в салоне
В салоне автомобиля блок с предохранителями и реле будет расположен под панелью приборов со стороны водителя.
Вариант 1

Сверяйте назначение элементов со своими схемами на обратной стороне крышки.
Схема

Описание
| 1. | 10A Стоп-сигнал |
| 2. | 30A Мотор вентилятора |
| 3. | 10A Стартер |
| 4. | 15A Аксессуар (Прикуриватель) |
| 5. | 10A Задний противотуманный фонарь |
| 6. | 10A Габариты |
| 7. | 10A Фонарь заднего хода |
| 8. | 10A ABS/ESP |
| 9. | 10A Счетчик (Приборы) |
| 10. | 15A Катушка зажигания |
| 11. | 20A Стеклоочиститель/ омыватель |
| 12. | 10A Отопитель |
| 13. | 10A Сигнал зажигания |
| 14. | Подушка безопасности |
| 15. | — |
| 16. | 20A Замок двери |
| 17. | 15A Сирена/ опасность |
| 18. | 20A Задний обогреватель |
| 19. | 10A Освещение внутренне |
| 20. | 30A Электрическое стекло |
В данном исполнении за работу прикуривателя отвечает предохранитель номер 4 на 15А.
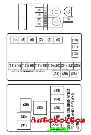
Вариант 2
Актуальная схема блока наклеена в нижней части.
Схема
Обозначение
| BLW FUN 20A | Вентилятор системы кондиционирования |
| ST SIG 30A | Сигнал стартера |
| ACC 15A | Аксессуары (музыка, прикуриватель) |
| RR FOG 10A | Задний противотуманный фонарь |
| TAIL 10A | Стояночный фонарь, габариты |
| FRT WIP 20А | Передний очиститель |
| BACK 10A | Фонарь заднего хода |
| ABS 10A | Антиблокировочная система тормозов |
| MTR 10A | Приборы (кластер) |
| IG COIL 15A | Катушка зажигания |
| BCM 20A | Блок управления |
| IG2 SIG 10A | Сигнал зажигания |
| A/B 10A | Предохранитель подушки безопасности |
| D/L 20A | Система блокировки дверей |
| HORN/HAZ 15A | Сирена/опасность (четыре индикаторных переключателя) |
| RR DEF 15A | Задняя противотуманная фара |
| PWR STR 10A | Электро усилитель руля |
| P/W 30A | Электрическое стекло |
Блок под капотом
В моторном отсеке основной блок с предохранителями и реле находится с левой стороны, рядом с аккумуляторной батареей.
Вариант 1
Схема
Назначение
| 1. | 80A Вся электрическая нагрузка |
| 2. | 50A Внутреннее освещение, задний фонарь, задний дефоггер, замок двери |
| 3. | 50A Электрический стеклоподъемник, обогреватель, стеклоочиститель, зажигание |
| 10. | 30A Предохранитель 2 модуля управления ABS |
| 11. | 40A Усилитель рулевого управления |
| 12. | 40A Предохранитель 1 модуля управления ABS |
| 13. | 30A Выключатель зажигания |
| 14. | 10A Компрессор кондиционера |
| 15. | 7,5A CNG VLV (*1) |
| 15A Фара дальнего света (левая) (*2) | |
| 16. | 15A Передняя противотуманная фара |
| 17. | 30A Вентилятор радиатора |
| 18. | Не используется |
| 19. | 15A Фара (левая) (*1) |
| 15A Фара высокая (правая) (*2) | |
| 20. | 15A Фара (правая) (*1) |
| 20. | 15A Фара высокая (левая) (*2) |
| Не используется | |
| 21. | 15A Фара низкая (правая) (*2) |
| 22. | 30A Пусковой двигатель |
| 23. | 15A Впрыск топлива |
| 27. | 80A Головной свет, Воздушный компрессор, Передняя противотуманная фара, Вентилятор радиатора |
| 28. | 80A Усилитель рулевого управления, ABS |
| 29. | 80A Насос Т/М |
| 30. | 10A Т/М |
| 31. | 10A T/M2 |
| 32. | Не используется |
| 33. | Не используется |
| 34. | Не используется |
| 35. | Не используется |
| 36. | Не используется |
| 37. | Не используется |
| Реле | |
| 4. | Реле передних противотуманных фар |
| 5. | Реле пускового двигателя |
| 6. | Реле CNG VLV (*1) |
| Не используется (*2) | |
| 7. | Не используется (*1) |
| Реле ближнего света фар (левое) (*2) | |
| 8. | Реле компрессора кондиционера |
| 9. | Не используется (*1) |
| Низкий свет фар (правый) Реле (*2) | |
| 24. | Реле вентилятора радиатора |
| 25. | Реле топливного насоса |
| 26. | Главное реле |
Отдельно могут быть расположены дополнительные блоки предохранителей и реле. Например на плюсовой клемме аккумуляторной батареи установлены предохранители высокой мощности в виде плавких вставок.
Вариант 2
Схема
Расшифровка
- BAT2 30A — для дополнительного блока комплектации с ксеноном
- PSD R — сдвижная дверь правая
- PSD L — сдвижная дверь левая
- RDTR 30A — Вентилятор радиатора
- ST3 20A — Стартер
- CPRSR 10A — Компрессор
- ABS SOL 25A — Соленоид ABS
- H/L L 15A — Фара левая (ближний)
- H/L R 15A — Фара правая (ближний)
- ST2 30A — Стартер 2
- SUB BAT 30A — Дополнительная батарея
- A-STOP 10A — Контроллер остановки на холостом ходу, стоп сигналы
- ABS MOT 40A — Двигатель ABS
- FI2 15A — Устройство впрыска топлива
- CVT PUMP 15A — Насос вариатора
- THR MOT2 15A — Двигатель дроссельной заслонки
- SPARE — Запасной
- IG COIL2 15A — Катушка зажигания
- METER2 10A — Приборы
- ST SIG/IG1 SIG2 10A — Контроллер остановки на холостом ходу
- FI MAIN — Реле впрыска топлива
- F/P — Реле топливного насоса
- RDTR — Реле вентилятора радиатора
Доллар - 76.50 
Евро - 91.70 