Здесь вы найдете описание блоков предохранителей и реле Дэу Леганза со схемами блоков и фотографиями, выделим предохранитель отвечающий за прикуриватель.
Блок под капотом
Находится рядом с аккумуляторной батареей под защитной крышкой.
Обозначение
Общая схема
Расшифровка
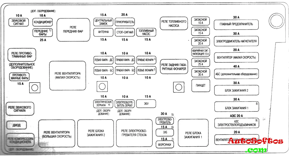
Блок в салоне
Находится под панелью приборов со стороны водителя, за защитной крышкой.

На обратной стороне будет актуальное обозначение элементов.
Описание
За прикуриватель отвечает предохранитель номер 8 на 20А.
Рядом могут располагаться отдельные реле: Реле АБС, Реле электродвигателя вентилятора обогревателя.
Доллар - 76.50 
Евро - 91.70 