AutoSoftos.com

Логин:
Пароль:

AutoSoftos.com
Литература по ремонту автомобилей, Програмы для диагностики авто

Всегда свежий софт и автомобильная литература

  • Доллар - 76.50
  • Евро   -  91.70
AutoSoftos.com » Статьи » Предохранители и реле Daewoo Nubira 2 и 1 поколения с описанием назначения

Предохранители и реле Daewoo Nubira 2 и 1 поколения с описанием назначения

  • Разместил: klays067;  
  • Прочитано: 808;  
  • Дата: 27-12-2023, 01:46;  
  • Сообщить о ошибке


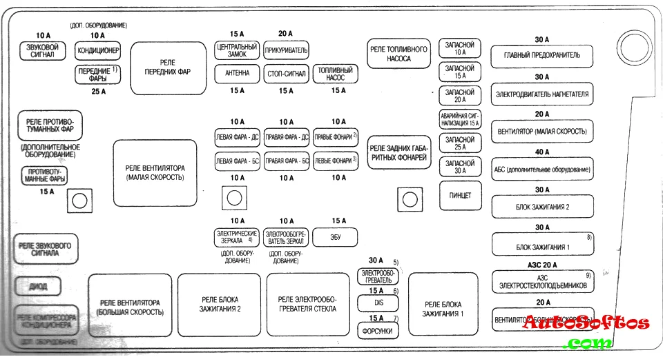
Здесь мы покажем описание блоков предохранителей и реле Дэу нубира 2 и 1 поколения со схемами блоков и фотографиями. Выделим предохранитель прикуривателя.

Блок в салоне



Находится под панелью приборов со стороны водителя, за защитной крышкой.

Предохранители и реле Daewoo Nubira 2 и 1 поколения с описанием назначения


На обратной стороне будет актуальное обозначение элементов.



Фото – схема





Описание





За прикуриватель отвечает предохранитель номер 8 на 20А.



Рядом могут располагаться отдельные реле: Реле АБС, Реле электродвигателя вентилятора обогревателя.

Блок под капотом



Находится рядом с аккумуляторной батареей под защитной крышкой.



Назначение





Общая схема





Обозначение





Внимание! Нажимая на ссылку «скачать» Вы обязуетесь, после ознакомления, удалить скаченный файл со своего компьютера. Всё содержимое сайта autosoftos.com взято из свободных источников, и также свободно распространяется. Если это Вы являетесь автором данного материала, то, пожалуйста, свяжитесь с нами, для того чтобы обеспечить пользователям, приятную и удобную альтернативу, после ознакомления, покупки качественного «оригинала» непосредственно от издателя. Администрация сайта не несёт никакой ответственности за противоправные действия, и какой либо ущерб, понесённый правообладателями.
  • нравится
  • 8
Информация
Посетители, находящиеся в группе Гости, не могут оставлять комментарии к данной публикации.

Реклама

Опрос

Оцените работу Сайта [?]


Календарь

«    Январь 2026    »
ПнВтСрЧтПтСбВс
 1234
567891011
12131415161718
19202122232425
262728293031 

Мы в Telegram

Статистика

Архив

Январь 2026 (121)
Декабрь 2025 (89)
Ноябрь 2025 (89)
Октябрь 2025 (124)
Сентябрь 2025 (91)
Август 2025 (157)