Здесь вы можете найти информацию с расположением электронных блоков управления и описание предохранителей и реле Тойота Калдина Т21х со схемами блоков и фото примерами исполнения. Отдельно отметим предохранитель прикуривателя.
Блоки в салоне
Расположение
Общая схема расположения блоков в салоне
Назначение
- 11 — левый боковой датчик SRS
- 12 — инвертор DC/AC
- 13 — реле инвертора (до 10.1997 г.)
- 14 — реле электропривода люка
- 15 — правый боковой датчик SRS
- 16 — электронный блок управления системой навигации (с 12.1999 г.)
- 17 — реле очистителя заднего стекла
- 18 — электронный блок управления двигателем
- 19 — центральный монтажный блок
- 20 — реле управления замками дверей
- 21 — интегрированное реле
- 22 — блок реле №1
- 23 — реле разъема подключения дополнительного электрооборудования
- 24 — блок предохранителей
- 25 — правый кронштейн крепления разъемов
- 26 — монтажный блок под приборной панелью в салоне
- 27 — реле обогревателя лобового стекла (антиобледенителя щеток)
- 28 — реле корректора фар (с 12.1999 г.)
- 29 — блок управления блокировкой селектора АКПП
- 30 — датчик замедления (ABS) (модели с VSC)
- 31 — датчик замедления (ABS, модели 4WD); датчик бокового перемещения (модели с VSC)
- 32 — центральный датчик SRS
- 33 — реле отопителя
- 34 — левый кронштейн крепления разъемов
- 35 — реле топливного насоса
- 36 — блок предохранителей (ЗС-ТЕ с 12.1999 г.)
- 37 — электронный блок управления ABS, TRC и VSC.
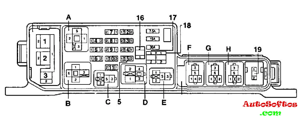
Блок предохранителей
В салоне блок предохранителей находится под панелью приборов со стороны водителя за защитной крышкой.
Схема
Описание
| 1. | 5А DEFOG / IDLE-UP — Система повышения частоты вращения холостого хода, электронный блок управления двигателем |
| 2. | 30А DEFOG — Обогреватель заднего стекла |
| 3. | 15А ECU — IG — Анти блокировочная система тормозов, система блокировки переключения передач |
| 4. | 10А TAIL — Передние и задние габариты, подсветка номерного знака |
| 5. | 5А STARTER — Стартер, блок управления двигателем |
| 6. | 5А IGNITION — Зажигание, Электронный блок управления двигателем |
| 7. | 10А TURN — Указатели поворотов |
| 8. | 20А WIPER — Стеклоочистители и омыватели |
| 9. | 15А METER — Комбинация приборов |
| 10. | 7,5А PANEL — Подсветка комбинации приборов и выключателей |
| 11. | 15А LIGHTER / RADIO — Электропривод боковых зеркал, прикуриватель, часы, магнитола |
| 12. | 15А FOG — Передние противотуманные фары |
| 13. | 30А DOOR — Центральный замок |
| 14. | 15А STOP — Стоп-сигналы |
Предохранитель отвечающий за прикуриватель расположен под номером 11 на 15А.
С обратной стороны блока могут крепится некоторые реле.
- Главное силовое реле
- Реле габаритов
- Реле обогревателя заднего стекла
Дополнительные элементы
Отдельно, ближе к левой стоке могут крепится некоторые дополнительные предохранители.
Схема
Обозначение
- 15A FR DEF — Обогрев щёток стеклоочистителя
- 15А ACC SOCKET — Дополнительные розетки
А в панели с левой стороны: 1 20A F/HTR — Подогрев топлива

Блоки под капотом
Расположение
Общая схема расположения блоков под капотом
Описание
- датчик разрежения в вакуумном усилителе тормозов (7A-FE, 3S-FE)
- блок реле системы VSC
- датчик давления наддува
- реле свечей накаливания
- резистор топливного насоса
- реле управления топливным насосом
- блок реле №2
- блок плавких вставок
- левый передний датчик SRS
- правый передний датчик SRS
Блок предохранителей и реле
Основной блок с предохранителями и реле расположен в левой части моторного отсека, рядом с аккумулятором. Возможно несколько вариантов его исполнения.

Схема
Расшифровка
|
Реле
|
|
Плавкие вставки |
|
Предохранители
|
Доллар - 76.50 
Евро - 91.70 